Beamed Energy Propulsion

James M. Shoji

Beamed energy concepts offer an alternative for an advanced propulsion system. The use of a remote power source reduces the weight of the propulsion system in flight and this, combined with the high performance, provides significant payload gains. Within the context of this study's baseline scenario, two beamed energy propulsion concepts are potentially attractive: solar thermal propulsion and laser thermal propulsion. The conceived beamed energy propulsion devices generally provide low thrust (tens of pounds to hundreds of pounds); therefore, they are typically suggested for cargo transportation. For the baseline scenario, these propulsion systems can provide propulsion between the following nodes (see fig. 34 [Transportation Nodes]):

a. 2-3 (low Earth orbit to geosynchronous Earth orbit)
b. 2-4 (low Earth orbit to low lunar orbit)
c. 4-7 (low lunar orbit to low Mars orbit)-only solar thermal
d. 5-4 (lunar surface to low lunar orbit)-only laser thermal

Solar Thermal Propulsion

Solar thermal propulsion makes use of an available power source, the Sun, and therefore does not require development of the power source. Rather than carrying a heavy generator with the spacecraft, a solar thermal rocket has to carry only the means of capturing solar energy, such as concentrators and mirrors. Instead of converting that solar energy to electrical power, as photovoltaic systems do, a solar thermal propulsion system uses the solar energy directly-as heat. As shown in figure 35 [Solar Thermal Concepts a and b.] and figure 35c [Solar Thermal Thruster (Rocketdyne], the solar radiation is collected and focused to heat a propellant. This solar thermal propulsion configuration is discussed in detail by Etheridge (1979). The heated propellant is fed through a conventional . converging diverging nozzle to produce thrust. For the baseline scenario, hydrogen from the Earth is used as the propellant. The engine thrust is directly related to the surface area of the solar collector.

There are two basic solar thermal propulsion concepts. These involve indirect and direct solar radiation absorption and differ primarily in the method of heating the propellant (Shoji 1983).

Indirect solar radiation absorption involves flowing a propellant through passages in a wall that is heated. The windowless heat exchanger cavity concept (fig.36 [Windowless Heat Exchanger Cavity]) is a state-of-the art design taking this radiation absorption approach.

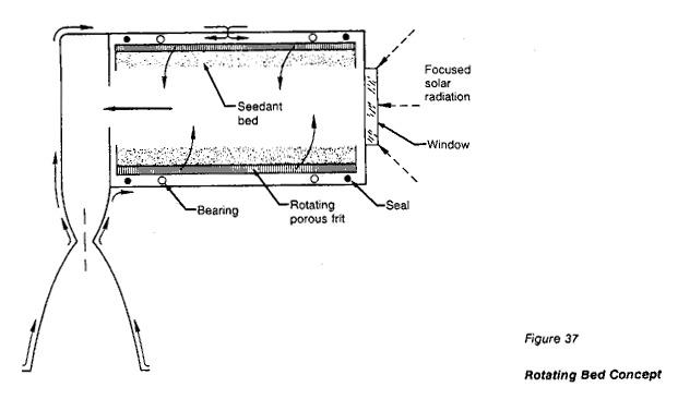
The rotating bed concept (fig. 37 [rotating Bed Concept]) is one of the preferred concepts for direct solar radiation absorption. Of the solar thermal propulsion concepts, it offers the highest specific impulse by using a retained seed (tantalum carbide or hafnium carbide) approach. The propellant flows through the porous walls of a rotating cylinder, picking up heat from the seeds, which are retained on the walls by centrifugal force. The carbides are stable at high temperatures and have excellent heat transfer properties.

A comparison of the performance potential of the indirect and direct heating concepts for one collector with a diameter of 100 feet (30.5 meters) using hydrogen as propellant is presented in figure 38 [Comparison of Performance of the Indirect and Direct Absorption Concepts]. Because of limitations in wall material temperature (less than 50000 R or 2800 K), the indirect absorption concepts are limited to delivered specific impulses approaching 900 sec. The direct absorption concepts enable higher propellant temperatures and therefore higher specific impulses (approaching 1200 sec). Even the lower specific impulse represents a significant increase over that of conventional chemical propulsion, an increase that can provide substantial payload gains (45 percent for a LEO-to-GEO mission) at the expense of increased trip time (14 days compared to 10 hours).

The state of the art of solar thermal propulsion is that the absorber/thruster of the indirect solar radiation absorption approach is in the proof of principle stage. Small-scale hardware has been designed and fabricated for the Air Force Rocket Propulsion Laboratory (AFRPL) for ground test evaluation (see figure 35 [Solar Thermal Concepts a and b.]). In order to provide solar thermal propulsion for the baseline mission scenario, a number of technology advances must be made, including the following:

1. Propulsion system
a. indirect solar radiation absorption concept
Further high-temperature material fabrication and process technology
Concept design and development

b. Direct solar radiation absorption concept
Subcomponent and component technology
Concept design and development

c. Engine system
Absorber concept selection
Complete engine system design and development

2. Collector/concentrator-component technology associated with large inflated collector
a. Structural design
b. High concentration ratios
c. Deployment approach and design

3. Vehicle

a. Collector/concentrator integration
b. Sun-tracking system
c. Long-term-storage of liquid hydrogen for LLO-to-LMO missions

An acceleration in the technology schedule and an increase in funding level would be required to provide solar thermal propulsion for the LEO-toGEO leg for the year 2000 and to support the lunar and Mars missions in the baseline scenario.

Laser Thermal Propulsion

Laser thermal propulsion uses a remotely located power source for propulsion in low Earth orbit (LEO), between LEO and geosynchronous Earth orbit (GEO), or on the Moon. A remotely located laser transmits energy to the transportation system, where it is converted to heat in a propellant; then the heated propellant is discharged through a nozzle to produce thrust (see fig. 39 [Typical Laser thermal rocket Concept]).

Laser thermal propulsion concepts can be grouped into continuous wave (CW) and repetitive pulsed (RP) concepts. The CW concepts include (1) indirect heating (heat exchanger), (2) molecular or particulate seedant, and (3) inverse Bremstrahlung. Details of these concepts are described by Caveny (1984). The inverse Bremstrahlung concept (fig. 40 [Inverse Bremstrahlung Concept]) enables the propellant to be taken to the highest temperatures (exceeding 10 000 degrees R or 5500 degrees K) and to be of the lowest molecular weight (approaching 1.0) through the formation of a high -temperature plasma and therefore results in the highest specific impulses (1000 to 2000 sec) of all the laser thermal propulsion concepts.

The repetitive pulse concept (fig. 41 [Repetitive Pulsed Laser Propulsion Concept]) uses a pulsed laser and a laser-supported detonation wave within the propellant to provide a rapidly pulsed, high-performance system.

The state of the art of laser thermal propulsion has been constrained by the available funding and is dependent on the development of a laser system capable of transmitting high levels (multimegawatts) of power. Analytical and experimental studies have been conducted to investigate the physics involved in plasma initiation and formation for the inverse Bremstrahlung approach. Also, initial small-scale PIP thruster experiments have been conducted (Caveny 1984). NASA's plans include an experimental CW laser thruster. The technology advances required to provide laser thermal propulsion include the following:

1. Thruster

a. Thruster cooling approach The high plasma temperatures (greater than 20,0000 degrees R or 11,000 degrees K) and the high specific impulse involved make satisfactory cooling difficult. A combination of regenerative and/or transpiration cooling with hightemperature wall materials may be required.

b. Window design and cooling
High transmittance
Low absorptivity
High strength at high temperatures

2. Collector/concentrator

a. Surface accuracy Although laser thermal propulsion concentrators will be smaller than those for solar thermal propulsion, the requirement for surface accuracy may be more stringent because of the short wavelengths involved.

Other concentrator technologies are similar to those of the solar concentrator:
b. High concentration ratios
c. Structural design
d. Deployment approach and design

3. Vehicle

a. Collector/concentrator integration
b. Long-term cryogenic propellant storage
Further specific technology requirements for both CW and RP laser thermal propulsion concepts are presented by Caveny (1984). In addition, an accurate laservehicle tracking system is essential. For laser thermal propulsion to become a viable approach, the current NASA plan would need to be accelerated, funding increased, and a space-based laser system developed.

Laser Electric Propulsion

Edmund J. Conway

In laser electric propulsion (LEP), power is beamed to a photovoltaic collector on a space vehicle, where it is converted to electricity for an ion engine (Holloway and Garrett 1981). The central power station can remain fixed, generating the laser beam and aiming it at the spacecraft receiver. Because of the high power in the laser beam, the spacecraft photovoltaic converter can be reduced in area (and thus mass), with respect to the array of a solar electric propulsion (SEP) system, by a factor of 102 to 104. As a laser photovoltaic array can be 50-percent efficient while solar photovoltaic array efficiency will not exceed 20 percent, the radiator area can also be significantly reduced. The reduced size of the converter and radiator implies a much reduced drag (compared to SEP) in low orbit. Moreover, ion engines are well developed, having high specific impulse, low thrust, and long life.

Use of Nonterrestrial Resources for Beamed Energy Propulsion

Beamed energy propulsion alternatives utilizing propellants produced from nonterrestrial resources are summarized in table 11 [Beamed Energy Propulsion Alternatives Utilizing Propellants Produced From Nonterrestrial Resources Graph]. In general, for both solar and laser thermal propulsion concepts, the availability of oxygen as propellant through lunar soil processing is not expected to be attractive because of the difficulty of achieving the required high-temperature oxygen-resistant materials for the thruster, the poor cooling capacity of oxygen, and the low specific impulse potential of oxygen. Even if these problems were solved, a performance and cost trade off analysis must be performed to quantify any gains. The oxygen would be available for missions originating from or returning to the lunar surface.

The availability of water from Earth-crossing asteroids (or from the moons of Mars, Phobos and Deimos) transported to LEO would enable water electrolysis to produce hydrogen and oxygen.

The hydrogen produced could be used in both the solar and laser thermal propulsion concepts. Another possible nonterrestrial source of hydrogen is lunar soil. Hydrogen implanted by the solar wind is present in abundances of about 40 ppm in the bulk soil and up to 300 ppm in finegrained fractions. Extraction of this hydrogen is being studied to determine whether it is economically attractive compared to importing hydrogen from Earth. An abundance of 300 ppm hydrogen by weight is equivalent to 2700 ppm or 0.27 percent, water. This amount of hydrogen has been found in the fine-grained (less than 20 micrometers in diameter) fractions of some mature lunar soils. The technology required to use this hydrogen is the same as that to use hydrogen brought from the Earth in the baseline scenario. Additional technology needed for the alternative scenario includes longterm cryogenic propellant storage. Again, a performance and cost tradeoff analysis is required to evaluate the gains achieved through the availability of hydrogen.


References

Caveny, Leonard H., ed. 1984. OrbitRaising and Maneuvering Propulsion: Research Status and Needs. Progress in Astronautics and Aeronautics, vol. 89.
Etheridge, F. G. 1979. SolarRocket System Concept Analysis: Final Technical Report. AFRPLTR-79-79, Nov.
Holloway, Paul F., and L. B. Garrett. 1981. Comparative Analyses of Spaceto-Space Central Power Stations.
NASA TP-1 955, Dec.
Shoji, J. M. 1983. Performance Potential of Advanced Solar Thermal Propulsion. AlAA 831307,June.

Table of Contents


Curator: Al Globus
If you find any errors on this page contact Al Globus.
Space Settlement hompage

This site was hosted by the NASA Ames Research Center from 1994-2018 and is now hosted by:

National Space Society